磁鐵牽引式斗式秤

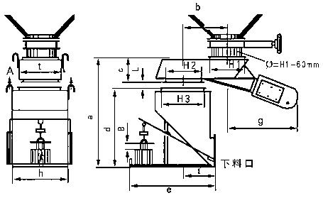
HL3000斗式稱配料控制系統
HL3000斗式稱配料控制系統采用自動周期測零方式,計量采用周期控制方式,計量精度高,機械結構簡單、可靠、操作簡單方便,牽引電磁鐵開門方式,能使物料迅速放出,縮短開門時間,提高臺時產量。如果塊料卡門,微機將自動識別并報警。

注:A:掛接傳感器
B:磁鐵行程40mm

磁鐵牽引式斗式秤 2018-1-29 本文被閱讀 3392 次
| 下一條:國產儀表 | 上一條:FTD粉體定量給料機 |

HL3000斗式稱配料控制系統
HL3000斗式稱配料控制系統采用自動周期測零方式,計量采用周期控制方式,計量精度高,機械結構簡單、可靠、操作簡單方便,牽引電磁鐵開門方式,能使物料迅速放出,縮短開門時間,提高臺時產量。如果塊料卡門,微機將自動識別并報警。

注:A:掛接傳感器
B:磁鐵行程40mm

| 下一條:國產儀表 | 上一條:FTD粉體定量給料機 |